材料制品
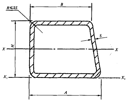
摘自《GB/T3094-2000 冷拔异形钢管》
Nordson·诺信
weidmueller·魏德米勒
kinco·步科
NTN·恩梯恩
SKF·斯凯孚
GAIGI·盖奇
泰尔盾
LAZ·二工实业
丰州科技
HRB·哈尔滨轴承
TOX
嘉立创FA
回顶部
微信扫码分享